Технические преимущества нержавеющей стали А4
Использование аустенитной стали марки А4 (AISI 316) с добавлением 2-3% молибдена делает эту скобу практически неуязвимой для агрессивных сред. В отличие от стали А2, артикул 9640 в исполнении А4 обладает следующими свойствами:
- Кислотостойкость: устойчивость к воздействию хлоросодержащих сред, азотной и серной кислот.
- Коррозийная стойкость в соленой воде: идеально подходит для судостроения и портовой инфраструктуры.
- Температурный режим: сохранение прочностных характеристик в широком диапазоне температур без охрупчивания металла.
- Гигиеничность: отсутствие магнитных свойств и экологическая безопасность для пищевой промышленности.
Конструктивные особенности и эксплуатация
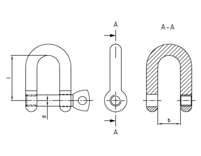
Конструкция скобы включает в себя U-образное тело и винтовой штифт (палец), который вкручивается непосредственно в тело скобы. Такая схема позволяет оперативно монтировать и демонтировать такелажную оснастку без применения специального инструмента.
Основные сферы применения:
- Монтаж солнцезащитных систем и тентовых конструкций.
- Оборудование яхт, катеров и других маломерных судов.
- Химическая и фармацевтическая промышленность (крепление оборудования).
- Ландшафтный дизайн и архитектурные решения с использованием нержавеющих тросов.
Рекомендации по безопасности
При подборе типоразмера скобы art. 9640 необходимо учитывать расчетную рабочую нагрузку (WLL). Специалисты рекомендуют избегать боковых нагрузок на прямые скобы, так как они предназначены преимущественно для осевого натяжения. Перед каждым использованием следует проверять целостность резьбы штифта и отсутствие деформаций корпуса.
| d, мм | a, мм | l, мм | b, мм | рабочая нагрузка, кг | разрушающая нагрузка, кг |
| 4 | 8 | 14 | 16 | 90 | 550 |
| 5 | 10 | 17 | 20 | 100 | 900 |
| 6 | 12 | 21 | 24 | 150 | 1300 |
| 7 | 14 | 24 | 28 | 200 | 1800 |
| 8 | 16 | 28 | 32 | 250 | 2400 |
| 10 | 20 | 35 | 40 | 500 | 3800 |
| 12 | 24 | 42 | 48 | 600 | 5550 |
| 13 | 26 | 45 | 52 | 800 | 6550 |
| 16 | 32 | 55 | 64 | 1100 | 7600 |
| 19 | 38 | 66 | 76 | 1600 | 9950 |
| 22 | 44 | 77 | 88 | 2500 | 13850 |
| 25 | 50 | 87 | 100 | 3000 | 22800 |
- Более чем адекватные цены: Мы работаем напрямую с ведущими производителями, что позволяет нам предлагать конкурентноспособную стоимость без ущерба для качества продукции.
- Гарантия качества и сертификация: Весь товарный ассортимент соответствует техническим стандартам.
- Статус надежного партнера: Компания «Хипакс» зарекомендовала себя как проверенный поставщик крепежных изделий. Мы гарантируем широкий ассортимент товара на складе, оперативную отгрузку и индивидуальный подход к каждому заказу.
Нужна консультация? Свяжитесь с нашими специалистами — мы поможем подобрать оптимальное решение для ваших задач по лучшей цене!






