Конструктивные особенности и преимущества
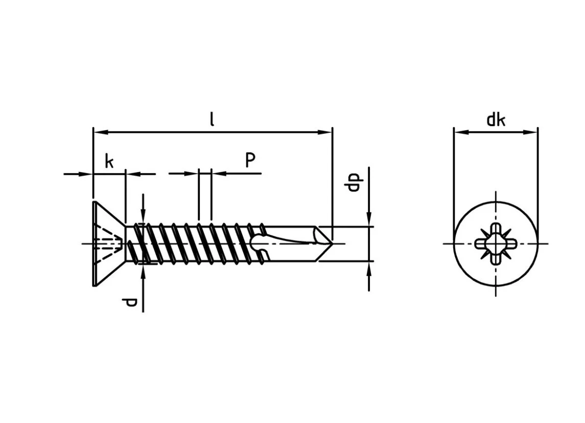
Изделие оснащено потайной головкой, которая при монтаже полностью утапливается в материал, обеспечивая ровную и эстетичную поверхность без выступающих частей крепежа. Это критически важно при сборке каркасных систем, мебельных конструкций и облицовочных панелей.
- Шлиц Pozidrive (PZ): Обеспечивает глубокое зацепление биты и минимизирует риск «выталкивания» инструмента при передаче высокого крутящего момента.
- Наконечник-сверло: Позволяет за один рабочий цикл просверлить металл, нарезать резьбу и плотно зафиксировать деталь.
- Материал исполнения: Нержавеющие стали аустенитного класса (A2 и A4) гарантируют долговечность соединения в условиях агрессивного воздействия внешней среды.
Сферы применения
Благодаря своим эксплуатационным характеристикам, саморезы DIN 7504-O широко востребованы в промышленном и гражданском строительстве:
- Монтаж вентилируемых фасадов и металлических профилей.
- Производство оконных и дверных систем из алюминия и ПВХ.
- Сборка конструкций в пищевой и химической промышленности (актуально для стали A4).
- Изготовление рекламных коробов и малых архитектурных форм.
Выбор материала: A2 или A4?
Выбор марки стали напрямую зависит от условий эксплуатации будущего узла крепления:
- Сталь A2 (AISI 304) — оптимальный выбор для стандартных условий. Она обладает высокой коррозионной стойкостью, нетоксична и сохраняет прочностные характеристики при низких и высоких температурах. Подходит для наружных работ в умеренном климате.
- Сталь A4 (AISI 316) — содержит в составе молибден (2-3%), что делает крепеж практически неуязвимым для воздействия кислот, хлора и морской воды. Рекомендуется для использования в бассейнах, на судах, а также на предприятиях химического сектора.
| dk, мм | 5,5 | 7,3 | 7,5 | 8,4 | 9,3 | 10,3 |
| k, мм | 1,7 | 2,1 | 2,3 | 2,5 | 3 | 3,4 |
| P, мм | 0,9 | 1,2 | 1,3 | 1,4 | 1,5 | 1,7 |
| dp, мм | 2,3 | 2,8 | 3,1 | 3,6 | 4,1 | 4,8 |
| толщина сверления, мм | 0,7-1,9 | 0,7-2,25 | 0,7-2,4 | 1,75-3,0 | 1,75-4,4 | 1,75-5,25 |
| размер шлица PZ | 1 | 2 | 2 | 2 | 2 | 3 |
| d/l, мм | 2,9 | 3,5 | 3,9 | 4,2 | 4,8 | 5,5 |
| 9,5 | 2,9х9,5 | 3,5х9,5 | ||||
| 13 | 2,9х13 | 3,5х13 | 3,9х13 | 4,2х13 | 4,8х13 | |
| 16 | 3,5х16 | 3,9х16 | 4,2х16 | 4,8х16 | ||
| 19 | 3,5х19 | 3,9х19 | 4,2х19 | 4,8х19 | 5,5х19 | |
| 22 | 3,5х22 | 3,9х22 | 4,2х22 | 4,8х22 | ||
| 25 | 3,5х25 | 3,9х25 | 4,2х25 | 4,8х25 | 5,5х25 | |
| 32 | 3,9х32 | 4,2х32 | 4,8х32 | 5,5х32 | ||
| 38 | 3,9х38 | 4,2х38 | 4,8х38 | 5,5х38 | ||
| 40 | 5,5х40 | |||||
| 45 | 4,2х45 | 4,8х45 | 5,5х45 | |||
| 50 | 3,9х50 | 4,2х50 | 4,8х50 | 5,5х50 | ||
| 60 | 4,2х60 | 4,8х60 | 5,5х60 | |||
| 70 | 4,8х70 | 5,5х70 | ||||
| 75 | 4,8х75 | 5,5х75 | ||||
| 80 | 4,8х80 | 5,5х80 | ||||
| 90 | 4,8х90 | 5,5х90 | ||||
| 100 | 4,8х100 | 5,5х100 |
Выбирая сотрудничество с нами, вы доверяете профессионалам, которые ценят сотрудничество с каждой компанией. Мы предлагаем условия, выделяющие нас на рынке Республики Беларусь:
- Более чем адекватные цены: Мы работаем напрямую с ведущими производителями, что позволяет нам предлагать конкурентноспособную стоимость без ущерба для качества продукции.
- Гарантия качества и сертификация: Весь товарный ассортимент соответствует техническим стандартам.
- Статус надежного партнера: Компания «Хипакс» зарекомендовала себя как проверенный поставщик крепежных изделий. Мы гарантируем широкий ассортимент товара на складе, оперативную отгрузку и индивидуальный подход к каждому заказу.
Нужна консультация? Свяжитесь с нашими специалистами — мы поможем подобрать оптимальное решение для ваших задач по лучшей цене!








